Web-based system for capturing and sharing instructional material for a software application (I)

Tovi Grossman, George Fitzmaurice, Justin Frank Matejka, Thomas White, Ara Danielyan, Ruslana Steininger, Michael Chen, Anderson Nogueira
US Patent 10,515,143 · December 2019

Abstract

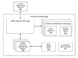
A system and technique for capturing a workflow history and video of an electronic document are disclosed. Events generated by an application while modifying an electronic document are stored on a web server as metadata. In addition, a captured digital image or frames of captured digital video that reflect the state of the document at the time the event was generated are also stored on the web server. The metadata is associated with one or more portions of the document and with the captured digital image or frames of captured digital video.

Patent figure